Unlocking Sustainable Energy with Integrated Photo-Bioelectrochemical Systems

Introduction

The global demand for clean and sustainable energy solutions continues to rise as industries seek alternatives to fossil fuels and energy-intensive processes. Traditional renewable energy technologies, such as solar and wind power, have made significant strides, but there is still room for improvement in efficiency, scalability, and integration with biological systems. Our patented integrated photo-bioelectrochemical systems offer a novel approach by combining the power of photosynthesis with electrochemical reactions, creating an innovative platform for renewable energy production and environmental applications.

Challenges in Current Renewable Energy Systems

While solar panels and bioenergy systems have become prominent in the renewable energy landscape, they still face significant challenges. Solar energy is often limited by efficiency issues, storage capacity, and the intermittency of sunlight. Similarly, bioenergy systems that rely on organic matter conversion processes can struggle with scalability and consistent energy output. Additionally, integrating biological processes with electrochemical systems has proven difficult, as maintaining stability and maximizing energy conversion has required complex and costly solutions.

There is a growing need for a technology that can bridge biological processes and electrochemical reactions, allowing industries to maximize energy production while simultaneously offering solutions for environmental challenges like wastewater treatment.

A New Approach to Renewable Energy

Our integrated photo-bioelectrochemical systems combine the best of both worlds by linking biological and electrochemical processes in a single, efficient platform. This system uses photosynthetic organisms or biofilms to capture sunlight and initiate biological reactions, which are then coupled with electrochemical processes to generate electricity or produce chemical fuels. The result is a hybrid system that not only produces clean energy but can also be used for environmental applications such as wastewater treatment, carbon capture, or biofuel production.

These systems are particularly well-suited for use in decentralized or remote locations, where traditional energy infrastructure may be limited. By leveraging biological materials and processes, this technology opens up new possibilities for energy production that go beyond traditional solar panels or biomass reactors. The integration of photosynthesis and electrochemical reactions also enhances the overall efficiency of the system, providing a cleaner, more reliable source of energy.

Key Benefits

  • Enhanced Efficiency: By integrating biological and electrochemical processes, this system offers a more efficient method of converting sunlight and organic matter into usable energy.
  • Sustainability and Environmental Impact: This technology has the potential to be used in wastewater treatment and environmental remediation, offering a dual benefit of energy production and pollution control.
  • Scalable and Versatile: The system can be adapted for both small-scale and industrial applications, providing flexibility in various environmental and energy-related industries.
  • Decentralized Energy: Ideal for use in remote or off-grid locations, offering a sustainable energy solution where traditional infrastructure is not available.

An Innovative Leap for Clean Energy and Sustainability

Licensing this integrated photo-bioelectrochemical system offers a unique opportunity for industries to develop cleaner, more efficient energy solutions. Whether applied in renewable energy production, environmental remediation, or biotechnology research, this technology represents a critical advancement in the intersection of biological processes and electrochemical energy generation.

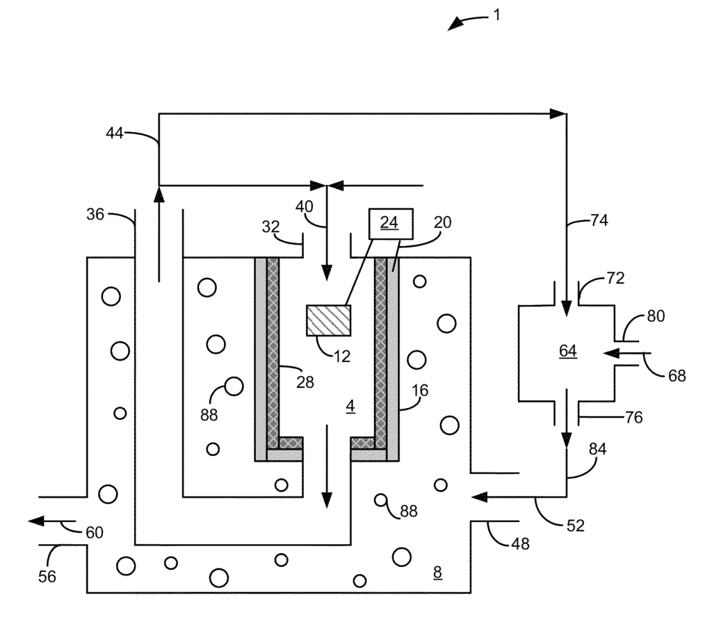
A bioelectricalchemical system includes an anode, an algal bioreactor, and a cathode. The anode is at least partially positioned within an anode chamber containing a first aqueous reaction mixture including one or more organic compounds and one or more bacteria for oxidizing the organic compounds. The algal bioreactor contains a second aqueous reaction mixture including one or more nutrients and one or more algae for substantially removing the nutrients from the second aqueous reaction mixture. The cathode is at least partially positioned within the algal bioreactor.

The invention claimed is:

1. A bioelectrochemical system, comprising:

an anode at least partially positioned within an anode chamber containing a first aqueous reaction mixture including one or more organic compounds and one or more bacteria for oxidizing the organic compounds;
an algal bioreactor containing a second aqueous reaction mixture including one or more nutrients and one or more algae for substantially removing the nutrients from the second aqueous reaction mixture; and
a cathode at least partially positioned within the algal bioreactor, wherein the cathode at least partially surrounds the anode chamber.
2. The bioelectrochemical system of claim 1, further comprising a cation exchange material at least partially surrounding and defining the anode chamber.
3. The bioelectrochemical system of claim 1, wherein at least one of the anode chamber and the cathode is cylindrical.
4. The bioelectrochemical system of claim 1, further comprising an external supply of carbon dioxide.
5. The bioelectrochemical system of claim 4, wherein the algal bioreactor has an inlet for receiving the external supply of carbon dioxide.
6. The bioelectrochemical system of claim 5, wherein the second aqueous reaction mixture is a catholyte and the catholyte is substantially saturated with carbon dioxide.
7. The bioelectrochemical system of claim 6, wherein a reaction occurring at the cathode buffers a pH of the catholyte.
8. The bioelectrochemical system of claim 1, wherein the one or more algae produce oxygen and the oxygen is reduced by a reaction occurring at the cathode.
9. The bioelectrochemical system of claim 1, further comprising a second anode at least partially positioned within a respective second anode chamber.

Share

Title

Integrated photo-bioelectrochemical systems

Inventor(s)

Zhen He

Assignee(s)

UWM Research Foundation Inc

Patent #

9130216

Patent Date

September 8, 2015

Inquire about this intellectual property

Learn more about "Unlocking Sustainable Energy with Integrated Photo-Bioelectrochemical Systems"